Technology offer departmens 11. Automatic shear diamond anvil cell for study materials at high pressures and shear deformations

Name of the scientific solution / development/ methodology, tool, prototype

Automatic shear diamond anvil cell for study materials at high pressures and shear deformations.

Contact information>: Institute for Superhard Materials of National Academy of Sciences of Ukraine, Materials Strength Department,

Dr. Shvedov Leonid, e-mail: shvedov@kv.chereda.net,

Office: 2, Avtozavodskaya Str., Kiev, 04074 Ukraine.

Problem Description

Large plastic strains and phase transformations are phenomena widely occurring in nature, physical experiments and modern technologies, e.g., in synthesis of materials and metal forming. In particular, thermomechanical treatment of materials involves consecutive or simultaneous processes of phase transformations and plastic straining, which result in the required microstructure and physical-mechanical properties. The process of the synthesis of superhard materials (diamond, cubic boron nitride) consists of phase transformations under high pressures and temperature, including plastic deformation.

The experimental and theoretical investigation of phase transformations, because of their wide application in various technologies, is of a great fundamental and applied nature. To determine phase diagrams of substances under extreme conditions the whole spectrum of experimental physical methods is employed: static and dynamic pressures, X-ray diffraction analysis, Raman spectroscopy, etc. Thus, Bridgman, Vereshchagin, Bundy, Ruoff, Blank, Takemura and other known scientists have studied the effect of various factors on the proceeding of phase transformations in a great number of substances and compositions.

It is known from numerous experiments that additional shear strains strongly influence on PT. Ones lead to significant reduction of PT pressure and temperature; to development of new phases, which cannot be obtained without shear; to substitution of irreversible PT with a reversible one, which allows production of phases which are metastable at normal pressure and can be used in industrial applications; to form of amorphous or nanostructural materials.

As the mechanics of materials under the conditions of high pressure, phase transitions, large plastic strains of compression and shear is not adequately developed, most of these phenomena are explained on a purely qualitative basis and their employment in modern technologies is based on empirical regularities. For this reason, the definition of regularities of straining and phase transformations in materials under these conditions opens up new avenues for the development of methods to control phase transformation, to produce new irreversible phases of materials with unique properties, to optimize and hence to lower the cost of the available synthesis technologies. Also, this can lead to new results in designing devices and mechanisms operating under extreme conditions, e.g., for synthesis of superhard materials.

The way of problem solving

To the experimental study of these phenomena and the creation of a shear deformation in the sample a shear diamond anvil cell (SDAC) are used. It is a small apparatus that has weight less than one kilogram. The studied material is compressed between its two anvils.

The SDAC allows:

 

- To achieve necessary pressures and temperatures rather easily.

- To create in a sample shear deformations, hydrostatic and nonhydrostatic pressing.

- To carry out various researches of a sample in the SDAC in situ: optical, spectroscopic, X-ray and others.

The SDAC is most convenient for use at studying materials which have nano or micro structural elements, because of its small working cell (250-500 microns in diameter, 100-500 microns in thickness).

We have some types of this device. The most simple: It creates only pressure and shear deformations (due to rotation of the mobile piston with one diamond anvil (DA) around a loading axis up to 360 degrees and more) in a tested sample in a manual mode. The most complex: It creates pressure and shear deformations (just the same) in a tested sample, measures loading, shear deformations and sample thickness during investigation distantly in automatic mode in response to commands from a computer.

For different ranges of pressure DA are used with the different size culet (diameter of a working area). Up to 40 GPa the culet size is no more 0.5 mm, up to 60 GPa – 0.4 mm, up to 110 GPa – 0.3 mm.

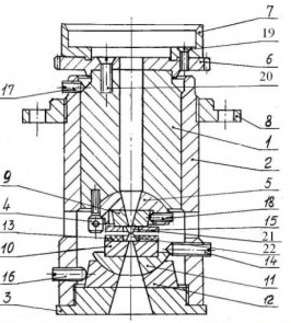
The scheme and photo of the new most complex SDAC is shown in fig. 1 and 2.

Fig. 1. The scheme of the SDAC.

1 – moving piston; 2 – frame; 3 – bottom; 4 – screw; 5 – upper hemisphere seat; 6 – gear; 7 – limb; 8 – flange; 9 – upper seat; 10 – lower seat; 11 – lower hemisphere seat; 12 - hemisphere seat; 13 – foil-coated textolite plate; 14 – screw; 15 – metal plate; 16 – 20 - screws; 21 – moving DA; 22 – motionless DA.

 

Fig. 2. The photo of the SDAC

HWD of the SDAC is 85x60x60mm, weight is 0.7 kg.

Basic publications

1 Shvedov L. K., Novikov N. V., Levitas V., Krivosheay Yr. N. Patent of Ukraine #75283. The device for creation of high pressure. Bul. # 3, from 15.03.2006.

2 Dobrovolsky V. D., Shvedov L. K., Novikov N. V. Patent of Ukraine #78018. The Dobrovolsky and Shvedov's method of X-ray diffraction analysis. Bul. #2, from 15.02.2007.

3 Shvedov L. K. Obtaining superhard phase of fullerene Ñ60 in the DAC. J. Superhard Materials, #3, 1997, p.38-42.

4 Levitas V., Shvedov L. K. Low Pressure Phase Transformation from Rhombohedral to Cubic BN: Experiment and Theory. Physical Review B, 2002, Vol. 65, No. 10, 104109.

4 Bezhenar N. P., Shulzhenko A. A., Shvedov L. K., Bozhko S. A., and Belyavina N. N. The cBN ® hBN phase transformation induced in a nanopowder by high quasi-hydrostatic pressure without the thermal activation. J. Superhard Materials, #4, 2006, p.76-78.

5 Novikov N. V., Shvedov L. K., Krivosheay Yr. N. The apparatus for study of structural and phase transformations of materials at high pressures, temperatures and shear deformations. High-pressure physics and technics. v.17,# 1,2007,p.9–22.

6 Novikov N. V., Shvedov L. K., Krivosheay Yr. N., Britun V.F., Tkach V.N. The research of dispersed wBN obtained in high-pressure apparatus at room temperature and shear deformation. High-pressure physics and technics. v.21, # 1, 2011, p. 46 – 53.

Innovative Aspects of the solution / development/ methodology, tool, prototype

The distinctive properties of the automatic SDAC are following:

1. The ability creating in the sample as large static pressure up to 100GPa and shear deformations due to rotation of the movable piston with DA around the axis of the applied load up to 360 degrees and more;
2. Measuring loading, rotation angle of the movable piston and the sample thickness accurate to 1 micron;
3. Work in automatic mode distantly by control of a computer.
These allow carrying out a large amount of researches for a short period of time with a large informativeness. The apparatus was developed for the study of large plastic deformations and PT of various materials at high pressures and shear deformations.

 

Main advantages of the solution / development/ methodology, tool, prototype

1. Absence of an additional adjustment. Usually, to increase pressure or shear in a sample in a DAC in situ when carrying out the experiments on synchrotron or X-ray diffractometer or Raman spectrometer, it is necessary to interrupt the experiment, to block beam and to increase pressure or shear in a sample manually with a loading nut. The displacement of the DAC relative to this beam may occur.

That is, it will be necessary to make the additional adjustment which will not allow in most cases to carry out measurement in the same point on a tested sample, at an enough small size of an X-ray or laser spot. Also you can not change the pressure or shear with small step.

Using our automatic SDAC we can increase pressure and shear deformations in a sample with a very small step distantly on a command from a computer without the interruption of the experiment and displacement of the SDAC about the beam. The step size of loading or shear depends basically on sensitivity of the pressure or shear registration system. The research time is considerably reduced at increase an informativeness and an accuracy of measurements. For example, if time of access to synchrotron radiation is limited, it can be quite essential.

2. DA safety. The diamond anvils are very expensive (more $2000 for a pair) and rather fragile. They break up frequently at disturbance of the SDAC adjustment or at very small thickness of a sample when DA touch under loading each other. Using our automatic SDAC we can use DA without breaking for very long time, about one year and more, at measuring the thickness of a tested sample during researches.

3. High informativeness. If we will know the sample thickness and the value of pressure (loading), we can estimate plastic properties and a degree of a tested sample deformation. That is, if the automatic SDAC is used, the informativeness of carrying out experiment increases greatly.

 

Financial and Economic Parameters

The most simple SDAC costs $9,600.

The most complex SDAC (with management system, electronic units and software) costs $18,600.

Current stage of development of the offered solution / development/methodology, tool, prototype

Already on the market.
Comments:
Several apparatus were delivered in the USA.
The most simple SDAC was delivered to Texas Tech University, Lubbock, Texas 79409-1021, USA. (cost $10,000)
The semicomplex SDAC was delivered to Texas Tech University, Lubbock, Texas 79409-1021, USA. (cost $14,000)
The most complex SDAC was delivered to Iowa State University, Ames, Iowa 50011-2161, USA. (cost $25,000)
Intellectual Property Rights (please, select)
The SDAC is copyright. (Shvedov L. K., Novikov N. V., Levitas V., Krivosheay Yr. N. Patent of Ukraine #75283. The device for creation of high pressure. Bul. # 3, from 15.03.2006.)

 

Collaboration Details (Type of collaboration sought; more than one option can be selected)
Technical co-operation.
It is possible delivery of our developed SDAC the required type.
Manufacturing agreement.

It is possible joint development and production of a new type SDAC with resistive heating for research materials at high pressures up to 50GPa and temperatures up to 800K (1300K in an inert atmosphere) and shear deformations.

Technology Key words

DAC, diamond anvil cell, SDAC, shear diamond anvil cell, study materials, phase transformation, phase transition, high pressure, shear deformation, resistive heating, high plastic deformations.